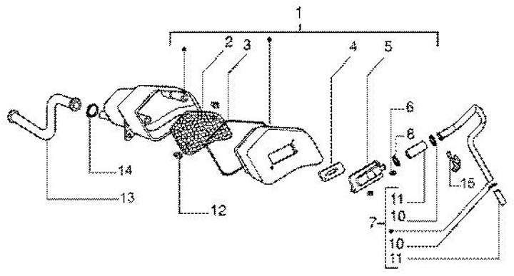
Secondary air housing
Gilera DNA 50 GP-Experience (2004, ZAPC27000)
Sort