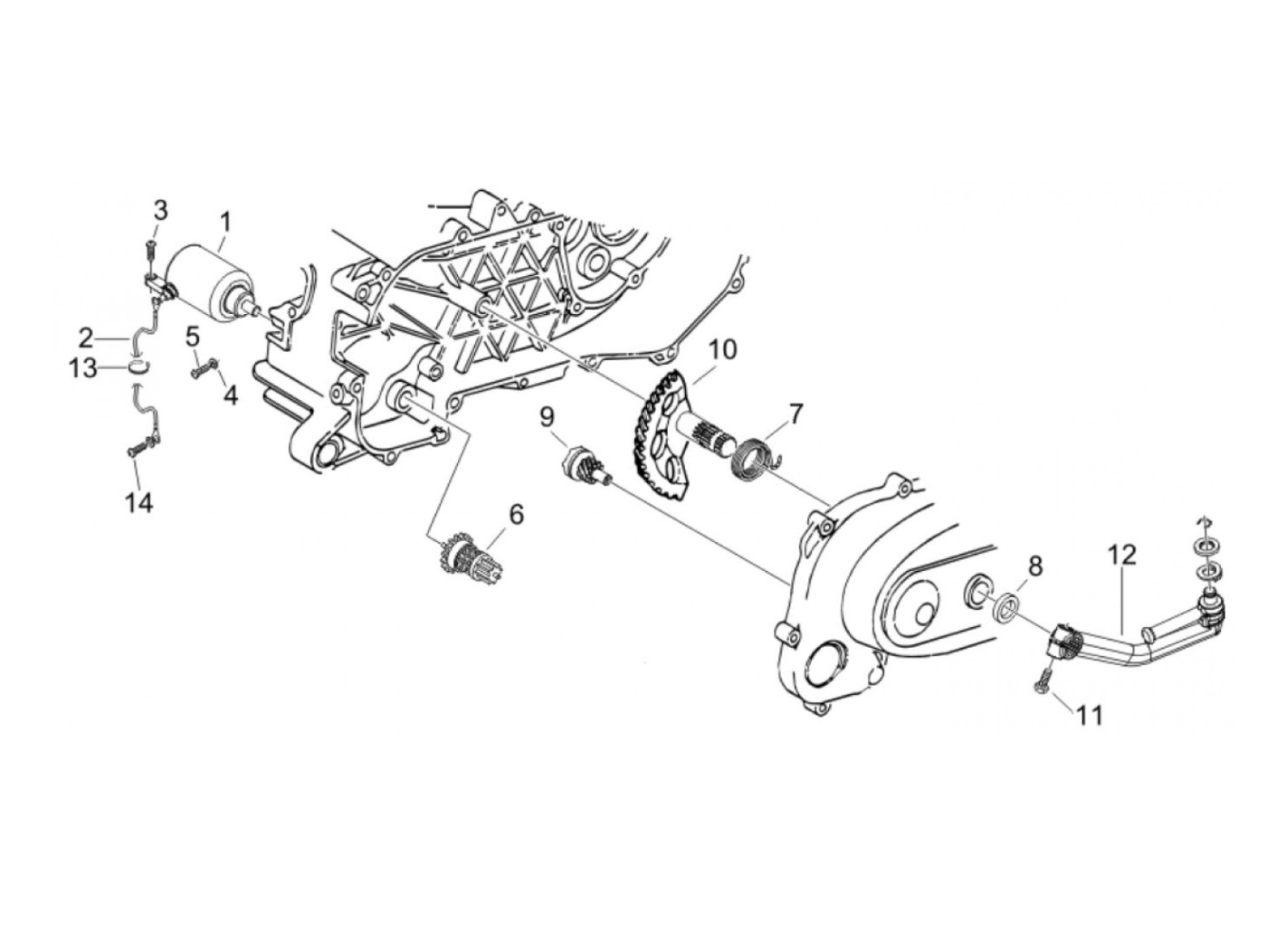
Arranque
Vespa LX 50 (2-tiempos, 2008, ZAPC38101)
Ordenar