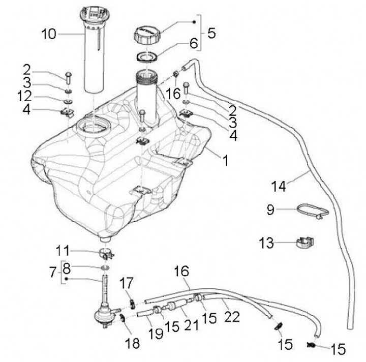
Depósito de combustible
Vespa S 50 (4-tiempos, 2008, ZAPC38600)
Ordenar