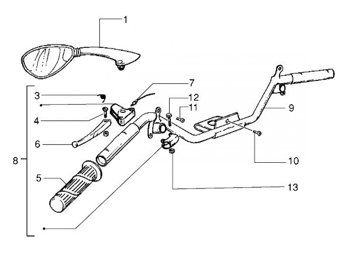
Manillar parte izquierda
Vespa ET2 50 Iniezione (2000, ZAPC12000)
Ordenar