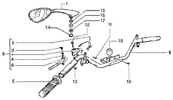
Manillar - puño izquierdo
Vespa ET4 125 (2000, ZAPM190001)
Ordenar