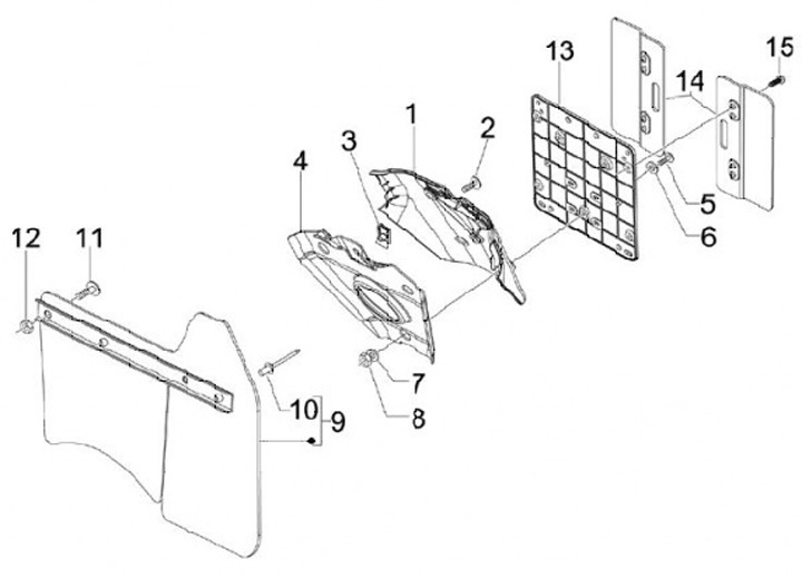
Portamatrículas
Vespa GTS 300ie Super Sport (2011, ZAPM45200)
Ordenar