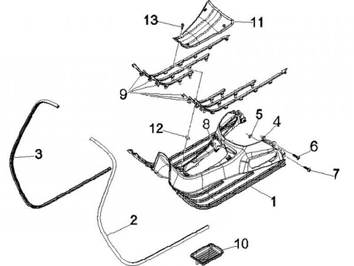
Reposapiés
Vespa GTS 250 Touring (2010, ZAPM45100)
Ordenar