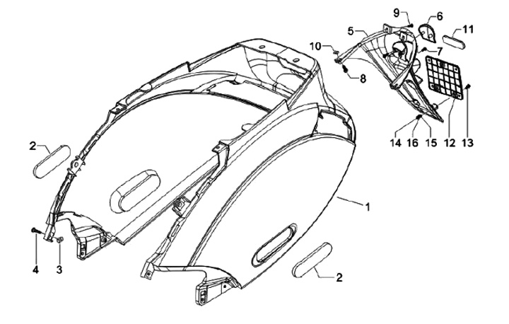
Tapa lateral
Piaggio Zip 50 II (4-tiempos, 2013, LBMC25C)
Ordenar