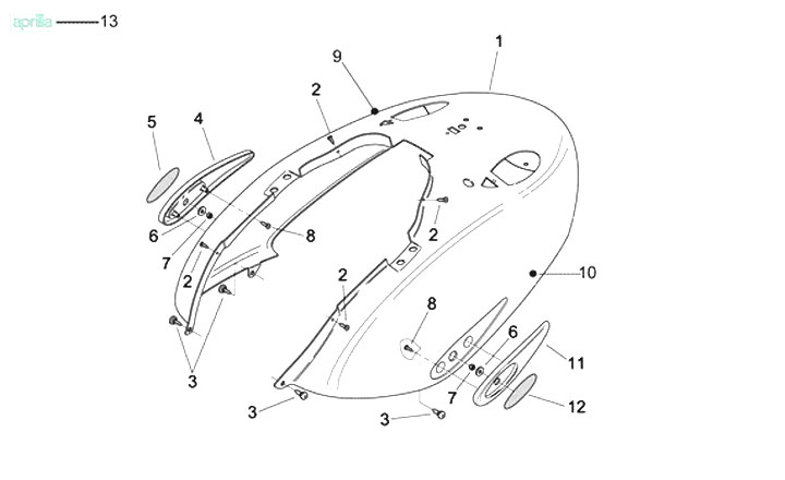
Carénage latéral
Aprilia Mojito 125 Custom (2008, ZD4SZA)
Trier