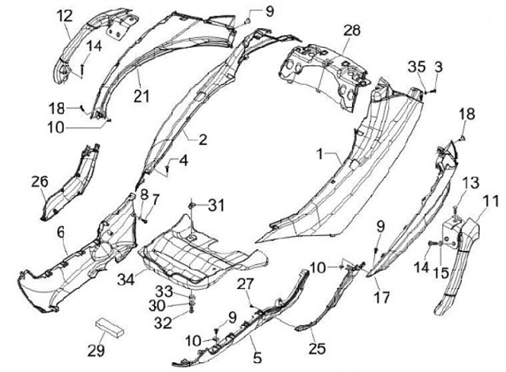
Carénage latéral
Piaggio MP3 500 Business LT (2011, ZAPM64300)
Trier