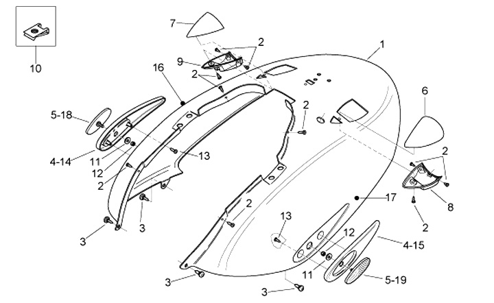
Carénage latéral
Aprilia Mojito 50 Custom (2008-2010, ZD4TF)
Trier