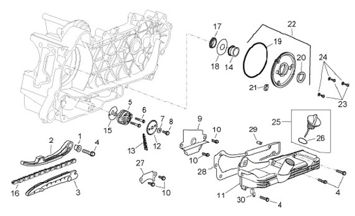
Pompe à huile
Aprilia Sport City 200 Cube (2008-2010, ZD4VBG)
Trier