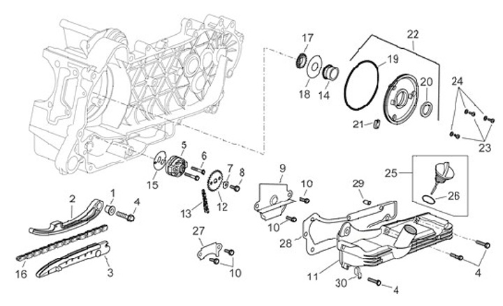
Pompe à huile
Aprilia Sport City 300 Cube (2008-2013, ZD4VBL)
Trier