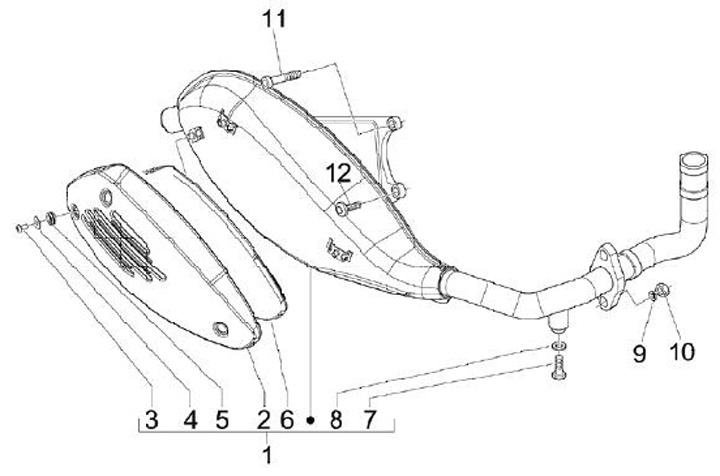
Pot d'échappement
Vespa S 50 (2-temps, 2012, ZAPC38103)
Trier