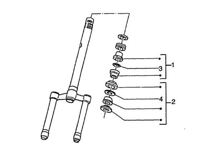
Roulements direction fourche
Piaggio NRG 50 Extreme DD (1999, ZAPC22000)
Trier