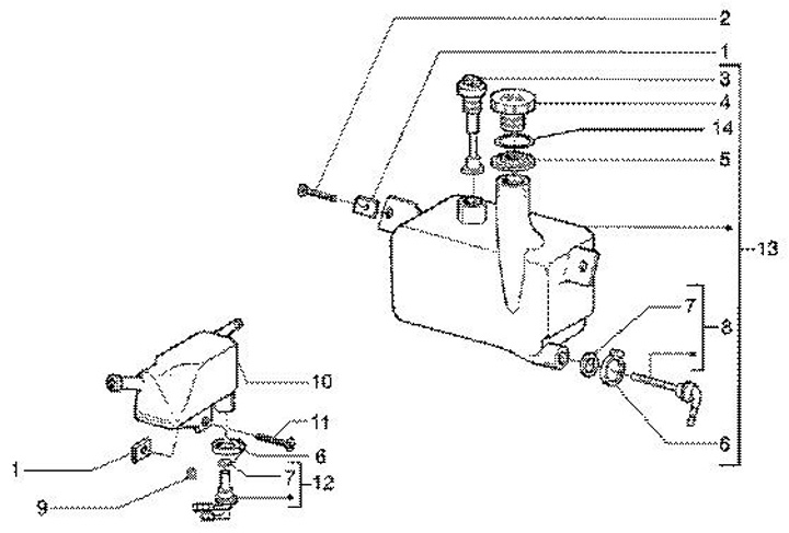
Réservoir d'huile - réservoir secondaire de carburant dégazeur
Gilera Runner 50 (2002-2004, ZAPC36400)
Trier