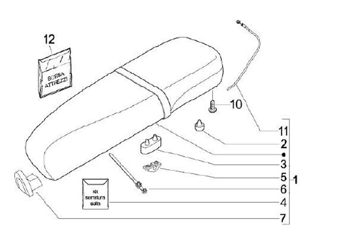
Selle
Vespa LX 50 (2-temps, 2009, ZAPC38101)
Trier