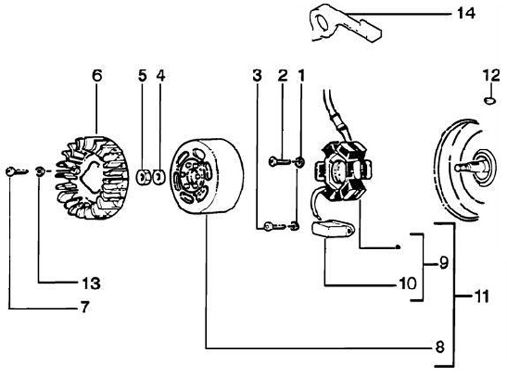
Volant magnétique
Piaggio Zip 50 II (2-temps, 2000, ZAPC25000)
Trier