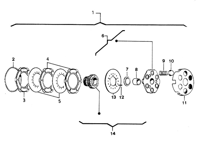
Kopling
Vespa Cosa 150 CLX (VLR1T300)
Urutkan