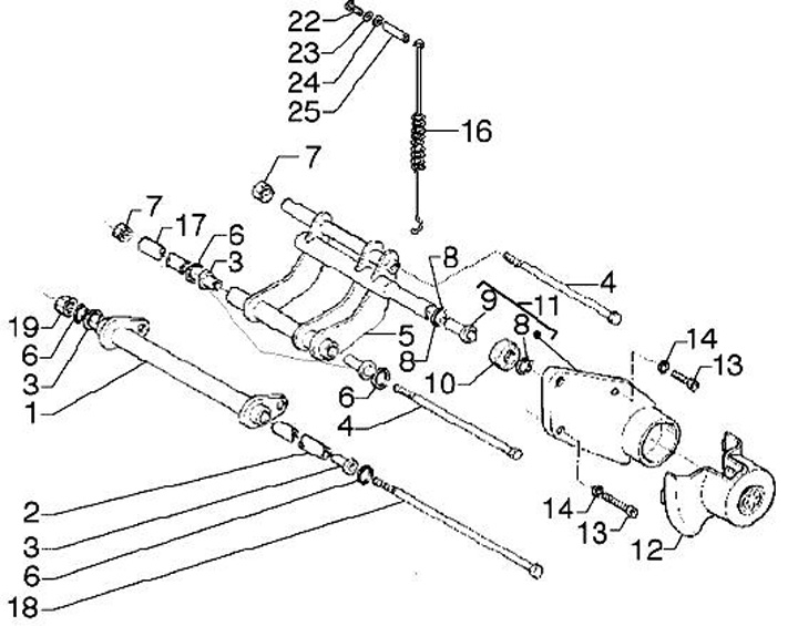
Lengan ayun mesin silentblock Ø = 16 x 60,2 x 40mm -MALOSSI- Vespa GT 250 (ZAPM45102), Vespa GT L 125 (ZAPM31100, ZAPM31101), Vespa GT L 200 (ZAPM31200), Vespa GTS 125 (ZAPM31300), Vespa GTS 250 (ZAPM45100, ZAPM45101), Vespa GTS 300 (ZAPM45200, ZAPM45202,