Right back from the start of our bgm Ducati style ignition system parts in 2007, we also supplied fitting instructions. On the first edition of the stator plates you found necessary information how to change the Pickup position to make certain lightweight flywheels work with them:
After some incidents during the Eurolambretta in 2024 in France and the feedback we got there, it was time to get in depth of the ignition system again and find a solution for some stator plates simply dying.
The pick-up consists of an iron core on which a coil is wound. The two ends of the core can also be seen protruding from the housing. If these two ends of the core now see a magnetic field change, a voltage is induced into the coil.
This voltage depends on the speed of the field change and the distance between the ends of the core and the magnet. In short ... the higher the speed, the higher the field change at the pick-up, the higher the induced voltage.
The voltage is not a DC voltage but has a sinusoidal curve. On one revolution it looks like the drawing below:
The trigger or the ignition system is voltage-controlled. This means that ignition takes place when U1 is reached. This voltage threshold is always the same ... at any speed. As described above, the amplitude of the voltage pulse changes. As a result, the voltage rise becomes steeper and t1 changes. This is the reason why the ignition timing shifts towards TDC at very low engine speeds. And this is also the reason why the ignition should not be strobed at idle speed. This is related to the trigger concept (triggering on a half-wave), but is predetermined by the entire system (CDI, stator, rotor). Together with the ignition energy, it is responsible for easy starting.
The counterpart of the Pickup is the Trigger inside the flywheel. This induced the magnetic field change and the voltage that induced in the coil when it passes the Pickup.
On old style flywheels the Trigger is staggered.
The bgm flywheel has a Trigger magnet that sits in the black Nd-Fe-B ring inside the flywheel. The black ring is a magnet ring that generates the charging voltage (ignition) and the generator voltage (light). The small silver magnet is only for triggering.
The alignment of the Trigger and Pickup is of great importance for a reliable ignition.
As a rule of thumb, we can say that a Pickup that sits to low compared to the Trigger gives no spark.
As another rule of thumb, we can say that a Pickup that sits to high compared to the Trigger stops the engine from revving out and heavy four stroking at higher revs will occur.
This was well known since the appearance of the Ducati made AF Rayspeed original flywheels, were nine times out of ten the Pickup had to be lowered to avoid problems with misfiring at high revs. Something that was often cured by milling the mag housing in a lathe.
On our closer look at dying ignitions we found very quickly and clear that it was nine times out of ten the Pickup that resigned from service.
So, we had to look into this a little closer and examined what failed inside to Pickup to find out why. We found out that in all cases either the upper resistor or the lower one packed in. The reason for this is that, depending on the positioning of the pick-up, either the resistance for the "upper" coil or the "lower" coil is subject to higher stress.
The verification of the alignment between Pickup and Trigger should be done to make the electronic ignition system what it is a reliable and maintenance free ignition.
A very clever trick is to use plasticine that is placed on the Trigger once the stator plate is fitted to the engine casing. When you put the flywheel in place and turn it over, the alignment is very clearly visible.
Additionally we have improved the internal structure of the bgm Pickup and this makes the new Pickups much more tolerant to a mismatch of Pickup and Trigger. To make this very easy and clearly visible the bgm PRO REV Pickups are now in a destinctive orange colour.
NEW bgm Pick-UpEIGENE BILDER KNETETRICK
ALTERNATIV MESSCHIEBER?
When there should be an off-set you should adjust the Pickup by taking steel plates off or adding them.
The combination of the bgm flywheel and stator plate can not be described as 100 % safe on this as there are too many other components of the engine have an effect of the clearance. To name just a few:
If you have original casings, maghousing and use a standard thickness gasket between these and for instance a bgm crankshaft everything is fine. But to measure is to know and to be safe.
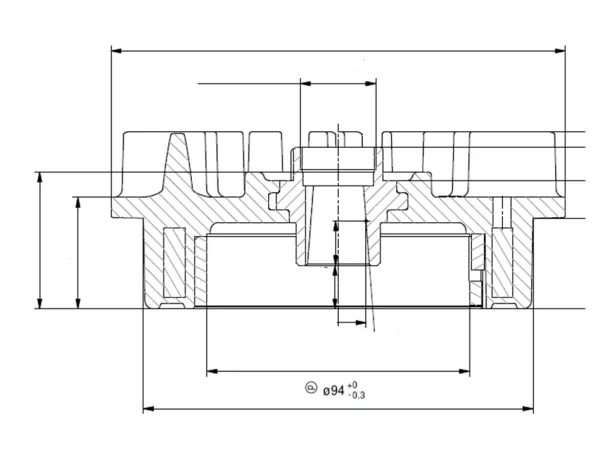
Another critical thing that can damage a Pickup is the clearance between the outer diameter of the stator plate and the inner diameter of the flywheel. Should the air gap be too tight the resistors at the Pickup can also be damaged at higher revs.
The combination of the bgm flywheel and stator plate is 100 % safe here, as we have the control on both parts and designed it with the right tolerances to have the perfect air gap between 0.4 mm to 0.6 mm.
The outer diameter of the stator plate has a size of 93 mm +/- 0.1 mm.
When you combine the bgm stator plate with a flywheel of another make you should take care that the inner diameter of this flywheel is not much smaller than 94 mm and ideally there is an air gap between the magic 0.4 mm to 0.6 mm.
One to watch: On UNI Auto mag housings it can be the case that they are machined offset. The result is that your stator plate is not correctly centralized compared to your flywheel and you have an uneven air gap that can even result in a contact between stator and flywheel. Looking similar to a twisted crank leaving its marks.
These are designed for ultimate reliabilty and we barely see a broken bgm CDI.
One of the special features of the bgm Vintage Lambretta and all other bgm CDI units is that they generate higher voltage at low engine speeds to make starting as easy as possible. Therefore we have chosen internal construction to ensure that as much energy as possible is charged into the main capacitor at low engine speeds. Our low-resistance series resistor enables starting speeds below 300 rpm. We always compare with the original Ducati items and the bgm CDIs give not only a stronger spark at low revs, the rev range where the spark starts is also earlier than on the Ducati CDIs.
We had something about the voltage rise that becomes steeper and the timing changes at different revs already:
“As a result, the voltage rise becomes steeper and t1 changes. This is the reason why the ignition timing shifts towards TDC at very low engine speeds. And this is also the reason why the ignition should not be strobed at idle speed. This is related to the trigger concept (triggering on a half-wave)…”
This is pure physics. But as we want an engine to start very easily, we need at starting revs an early ignition timing and not one that is closer to TDC than our desired ignition timing. Therefore all bgm and all Ducati CDI units have an ignition timing adjustment build in. This advances the ignition timing at low revs for easier starting and to equal the ignition timing caused by the t1 changes.
This is something everyone has probably seen, when strobing an ignition. The timing mark goes away to more pre-ignition timing at lower revs and gets stable at higher revs.
While we are on bgm ignition parts, there is also our Made in Germany flywheel. It is designed from and for proper road going scooterists for a nice and smooth running engine. It is not an universal moped ignition that is adapted to the Lambretta engine. It also a properly casted one-piece unit and does not use fancy screws to fit CNC cooling fins.
Main features are:
As we often heard questions about the cooling of it and why we have’t the cone on it.
Calculating the air cooling is very complex and depends on many other factors like ventilation holes, air supply, mag housing design and cylinder cowlings. The geometry and arrangement of the fins on the bgm flywheel is matched to all the components you find on a Lambretta. The cooling fins transport a certain volume of air into the cylinder hub. This volume of air is "sucked in" from the centre and through the ventilation slots in the flywheel cover of the flywheel because a vacuum is created there. The negative pressure only depends on the geometry and arrangement of the cooling fins. An additional cone in the centre of the flywheel reduces the flow resistance (due to turbulence) and also reduces the air turbulence which acts against the direction of rotation. Such a cone may result in a higher air flow rate, but the arrangement and geometry of the cooling fins as well as the size (and arrangement) of the opening slots in the flywheel cover (these also represent a flow resistance) are more decisive for this.
One of the best cooled Lambretta engines are running the bgm ignition, the in-destroyable RT alloy kits with the heavy and head absorbing CNC head – a complete concept of the RT engines.
