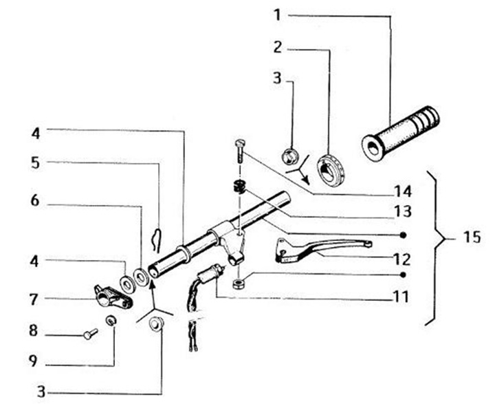
Handlebar lhs
Vespa PK 50 HP (V5N2T, 3-speed)
Sort