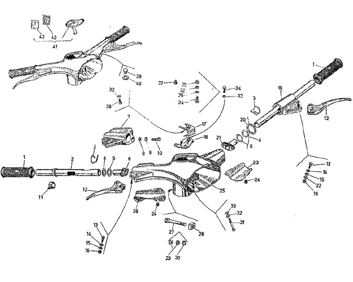
Manillar
Motovespa (ES) 150 S (Motor V201M)
Ordenar