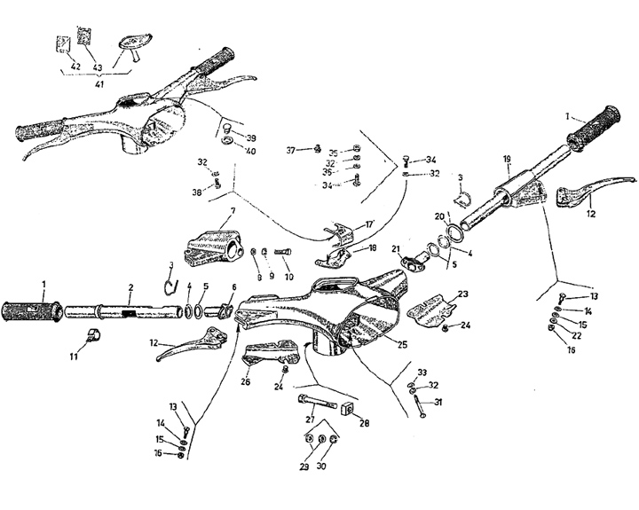
Manillar
Motovespa (ES) 125 N (M64)
Ordenar