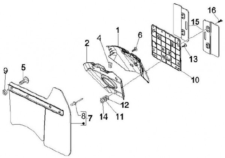
Portamatrículas
Vespa GTS 250 Touring (2009, ZAPM45100)
Ordenar