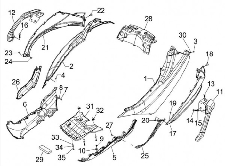
Carénage latéral
Piaggio MP3 125 (2009, ZAPM65100)
Trier