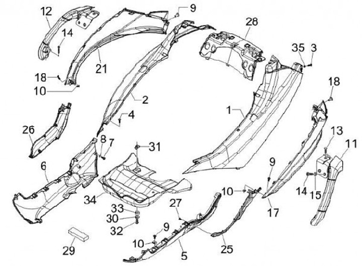
Carénage latéral
Piaggio MP3 500 Sport LT (2012, ZAPM64300)
Trier