très bon
4.7 / 5
Expédition aujourd`hui pour toute commande en 7 h 6 min
Port gratuit à partir de 99€ (DE)
Grande satisfaction des clients
Contact
|
Protection des données
|
CGV & Infos clients
|
Mentions légales
Expédition aujourd`hui pour toute commande en 7 h 6 min
Blog
DE | €
Mon garage
Mot de passe oublié ?
connexion
Créer un nouveau compte client
0
Tous les
Moteur
Tous éteints Moteur
Allumage
Aspiration & membrane
Boîtes de vitesses
Carburateur
Cylindre
Démarreur
Embrayage
Entraînement
Filtre à air
Joints d'étanchéité
Moteur & boîtier
Moteurs
Pot d'échappement
Refroidissement
Révision
Système d'injection
Vilebrequin
Vis & petites pièces
Installation électrique
Tous éteints Installation électrique
Allumage & alternateur
Bougies d'allumage
Câble
Démarreur
Éclairage
Fiche
Instruments
Interrupteur
Piles
Régulateur, redresseur
Sources lumineuses
Vis & petites pièces
Cadre & pièces rapportées
Tous éteints Cadre & pièces rapportées
Amortisseur de chocs
Béquille principale & latérale
Ecritures
Fourches
Palier de direction
Pièces d'habillage
Selles
Système de carburant
Vis & petites pièces
Guidons & armatures
Tous éteints Guidons & armatures
Frein & embrayage
Guidon & pièces d'habillage
Instruments
Interrupteur
Miroir
Poignées
Poignées de commande de gaz
Vis & petites pièces
Câbles Bowden
Tous éteints Câbles Bowden
Arbres de tachymètre
Conduites de frein
Éléments de commande
Entraînements tachymétriques
Mamelons de serrage & vis de réglage
Palans à câble & kits
Roues
Tous éteints Roues
Freins
Jantes
Pneus
Roues
Tuyaux
Vannes & petites pièces
Service
Tous éteints Service
Courroies
Filtre
Huiles
Outils
Sets
Pétrole & chimie
Tous éteints Pétrole & chimie
Adhésifs
Fournitures d'atelier
Graisses & lubrifiants
Huiles
Produit d'étanchéité
Produits d'entretien & nettoyants
Substances de service
Vernis & peintures
Accessoires
Tous éteints Accessoires
Accessoires spéciaux
Crash bars
Équipement d'atelier
Kits d'étranglement & limiteurs de vitesse
Manuels et plus
Marchandise
Pare-vent
Porte bagages
Protection contre le vol
Sacs
Supports de téléphone portable & accessoires
Top case
Casques & Vêtements
Tous éteints Casques & Vêtements
Accessoires
Casques
Gants
Lunettes & visières
T-Shirt & Hemden
Vestes & pantalons
Bons d'achat
Astuce du jour
%
Knipex
Pince de préhension frontale -KNIPEX TwinGrip-
21,51 €*
23,90 €*
Vespa Classique
Moteur
Tous éteints Moteur
Allumage
Aspiration & membrane
Boîte de vitesses
Carburateur
Cylindre
Démarreur
Embrayage
Entraînement
Filtre à air
Joints d'étanchéité
Kit de révision
Moteur & boîtier
Moteurs
Pot d'échappement
Refroidissement
Vilebrequin
Vis & petites pièces
Installation électrique
Tous éteints Installation électrique
Allumage & alternateur
Bougies d'allumage
Câble
Démarreur
Éclairage
Fiche
Instruments
Interrupteur
Piles
Régulateur, redresseur
Sources lumineuses
Vis & petites pièces
Châssis
Tous éteints Châssis
Amortisseur de chocs
Bancs
Béquille principale & latérale
Ecritures
Fourchettes
Palier de direction
Pièces châssis
Système de carburant
Vis & petites pièces
Guidon
Tous éteints Guidon
Frein & embrayage
Guidon & pièces d'habillage
Instruments
Interrupteur
Miroir
Poignées
Poignées de commande de gaz
Vis & petites pièces
Câbles Bowden
Tous éteints Câbles Bowden
Arbres de tachymètre
Conduites de frein
Éléments de commande
Entraînements tachymétriques
Mamelons de serrage & vis de réglage
Palans à câble & kits
Roues
Tous éteints Roues
Freins
Jantes
Pneus
Roues
Tuyaux
Vannes & petites pièces
Service
Tous éteints Service
Filtre
Huiles
Outils
Sets
Huile et chimie
Tous éteints Huile et chimie
Adhésifs
Fournitures d'atelier
Graisses & lubrifiants
Huiles
Produit d'étanchéité
Produits d'entretien & nettoyants
Substances de service
Vernis & peintures
Accessoires
Tous éteints Accessoires
Accessoires spéciaux
Arceau de sécurité
Equipement d'atelier
Littérature
Marchandise
Pare-vent
Porte-bagages
Sacs
Supports de téléphone portable & accessoires
TopCase
Casques & Vêtements
Tous éteints Casques & Vêtements
Accessoires
Casques
Gants
Lunettes & visières
T-shirt & chemises
Vestes & pantalons
Astuce du jour
BGM PRO
Jante -BGM PRO 2.10-10 pouces- Vespa (Type PX) - Vespa Smallframe V50, 50N, Special, PV, ET3, PK50-125 (S/XL/XL2), Largeframe PX, T5, Sprint, Rally, GT/GTR, LML Star, Deluxe - Acier inoxydable
129,00 €*
Vespa Moderne
Moteur
Tous éteints Moteur
Allumage
Aspiration & membrane
Boîte de vitesses
Carburateur
Cylindre
Démarreur
Embrayage
Entraînement
Filtre à air
Joints d'étanchéité
Kit de révision
Moteur & boîtier
Moteurs
Pot d'échappement
Refroidissement
Système d'injection
Vilebrequin
Vis & petites pièces
Installation électrique
Tous éteints Installation électrique
Allumage & alternateur
Bougies d'allumage
Câble
Démarreur
Éclairage
Fiche
Instruments
Interrupteur
Piles
Régulateur, redresseur
Sources lumineuses
Vis & petites pièces
Cadre & pièces rapportées
Tous éteints Cadre & pièces rapportées
Amortisseur de chocs
Bancs
Béquille principale & latérale
Ecritures
Fourchettes
Palier de direction
Pièces d'habillage
Système de carburant
Vis & petites pièces
Guidons & armatures
Tous éteints Guidons & armatures
Frein & embrayage
Guidon & pièces d'habillage
Instruments
Interrupteur
Miroir
Poignées
Poignées de commande de gaz
Vis & petites pièces
Câbles Bowden
Tous éteints Câbles Bowden
Arbres de tachymètre
Conduites de frein
Éléments de commande
Entraînements tachymétriques
Mamelons de serrage & vis de réglage
Palans à câble & kits
Roues
Tous éteints Roues
Freins
Jantes
Pneus
Roues
Tuyaux
Vannes & petites pièces
Service
Tous éteints Service
Courroie trapézoïdale
Filtre
Huiles
Nettoyant
Outils
Sets
Pétrole & chimie
Tous éteints Pétrole & chimie
Adhésifs
Fournitures d'atelier
Graisses & lubrifiants
Huiles
Produit d'étanchéité
Produits d'entretien & nettoyants
Substances de service
Vernis & peintures
Accessoires
Tous éteints Accessoires
Accessoires spéciaux
Arceau de sécurité
Equipement d'atelier
Littérature
Marchandise
Pare-vent
Porte-bagages
Protection contre le vol
Sacs
Supports de téléphone portable & accessoires
TopCase
Casques & Vêtements
Tous éteints Casques & Vêtements
Accessoires
Casques
Gants
Lunettes & visières
T-shirt & chemises
Vestes & pantalons
Astuce du jour
%
Malossi
Support d'amortisseur -MALOSSI- Vespa PK S-XL, Vespa ET2, ET4, Piaggio Sfera, Sfera RST, Zip SP
80,10 €*
89,00 €*
Cyclomoteur Classique
Moteur
Tous éteints Moteur
Allumage
Aspiration & membrane
Boîte de vitesses
Carburateur
Cylindre
Démarreur
Embrayage
Entraînement
Filtre à air
Joints d'étanchéité
Kit de révision
Moteur & boîtier
Pot d'échappement
Refroidissement
Vilebrequin
Vis & petites pièces
Installation électrique
Tous éteints Installation électrique
Allumage & alternateur
Bougies d'allumage
Câble
Éclairage
Fiche
Instruments
Interrupteur
Piles
Régulateur, redresseur
Sources lumineuses
Vis & petites pièces
Cadre & pièces rapportées
Tous éteints Cadre & pièces rapportées
Amortisseur de chocs
Bancs
Béquille principale & latérale
Ecritures
Fourchettes
Palier de direction
Pièces d'habillage
Système de carburant
Vis & petites pièces
Guidons & armatures
Tous éteints Guidons & armatures
Frein & embrayage
Guidon & pièces d'habillage
Instruments
Interrupteur
Miroir
Poignées
Poignées de commande de gaz
Vis & petites pièces
Câbles Bowden
Tous éteints Câbles Bowden
Arbres de tachymètre
Éléments de commande
Entraînements tachymétriques
Mamelons de serrage & vis de réglage
Palans à câble & kits
Roues
Tous éteints Roues
Freins
Jantes
Pneus
Roues
Tuyaux
Vannes & petites pièces
Service
Tous éteints Service
Filtre
Huiles
Outils
Pétrole & chimie
Tous éteints Pétrole & chimie
Adhésifs
Fournitures d'atelier
Graisses & lubrifiants
Huiles
Produits d'entretien & nettoyants
Produits d'étanchéité
Substances de service
Vernis & peintures
Accessoires
Tous éteints Accessoires
Accessoires spéciaux
Equipement d'atelier
Littérature
Marchandise
Porte-bagages
Protection contre le vol
Sacs
Casques & Vêtements
Tous éteints Casques & Vêtements
Accessoires
Casques
Gants
T-shirt & chemises
Astuce du jour
%
BGM PRO
Cloche d'embrayage -BGM PRO- Piaggio Ciao, Bravo, Boxer, Si monobloc avec ailettes de refroidissement CNC Made in Germany , modèles avec variateur
116,10 €*
129,00 €*
Lambretta
Moteur
Tous éteints Moteur
Allumage
Aspiration & membrane
Boîte de vitesses
Carburateur
Cylindre
Embrayage
Entraînement
Filtre à air
Joints d'étanchéité
Kickstarter
Moteur & boîtier
Pot d'échappement
Refroidissement
Sets de révision
Vilebrequin
Vis & petites pièces
Installation électrique
Tous éteints Installation électrique
Allumage & alternateur
Bougies d'allumage
Éclairage
Faisceaux de câbles
Fiche
Instruments
Interrupteur
Piles
Régulateurs & redresseurs
Sources lumineuses
Vis & petites pièces
Cadre & pièces rapportées
Tous éteints Cadre & pièces rapportées
Amortisseur de chocs
Bancs
Béquille principale
Ecritures
Fourchettes
Palier de direction
Pièces d'habillage
Système de carburant
Vis & petites pièces
Guidons & armatures
Tous éteints Guidons & armatures
Frein & embrayage
Guidon & pièces d'habillage
Instruments
Interrupteur
Miroir
Poignées
Poignées de commande de gaz
Vis & petites pièces
Câbles Bowden
Tous éteints Câbles Bowden
Arbres de tachymètre
Conduites de frein
Éléments de commande
Entraînements tachymétriques
Mamelons de serrage & vis de réglage
Palans à câble & kits
Roues
Tous éteints Roues
Freins
Jantes
Pneus
Roues
Tuyaux
Vannes & petites pièces
Service
Tous éteints Service
Huiles
Nettoyant
Outils
Sets
Pétrole & chimie
Tous éteints Pétrole & chimie
Adhésifs
Fournitures d'atelier
Graisses & lubrifiants
Huiles
Produit d'étanchéité
Produits d'entretien & nettoyants
Substances de service
Vernis & peintures
Accessoires
Tous éteints Accessoires
Accessoires spéciaux
Arceau de sécurité
Equipement d'atelier
Littérature
Marchandise
Pare-vent
Porte-bagages
Protection contre le vol
Sacs
Supports de téléphone portable & accessoires
Casques & Vêtements
Tous éteints Casques & Vêtements
Accessoires
Casques
Gants
T-shirt & chemises
Vestes & pantalons
Astuce du jour
%
BGM PRO
Cylindre -BGM PRO MRB-Racetour 225cc- Lambretta TV 200, SX 200, DL 200, GP 200
472,50 €*
525,00 €*
Scooter 50-850cc
Moteur
Tous éteints Moteur
Allumage
Boîtes de vitesses
Carburateurs
Carters moteur
Cylindres
Démarreur
Embrayage
Filtres à air
Joints
Moteurs
Pot d'échappement
Raccord d'aspiration & valve à lamelles
Refroidissement
Révision
Système d'injection
Transmission
Vilebrequin
Vis & petites pièces
Installation électrique
Tous éteints Installation électrique
Allumage & alternateur
Ampoules
Batteries
Bougies
Câbles
démarreur
éclairage
Instruments d'affichage
Interrupteurs
prises et fiches
Régulateur, redresseur
Vis & petites pièces
Cadre & pièces rapportées
Tous éteints Cadre & pièces rapportées
Amortisseur de chocs
Bancs
Béquille principale & latérale
Ecritures
Fourchettes
Palier de direction
Pièces d'habillage
Système de carburant
Vis & petites pièces
Guidons & armatures
Tous éteints Guidons & armatures
Frein & embrayage
Guidon & pièces d'habillage
Instruments
Interrupteur
Miroir
Poignées
Poignées de commande de gaz
Vis & petites pièces
Câbles Bowden
Tous éteints Câbles Bowden
Arbres de tachymètre
Conduites de frein
Éléments de commande
Entraînements tachymétriques
Mamelons de serrage & vis de réglage
Palans à câble & kits
Roues
Tous éteints Roues
Freins
Jantes
Pneus
Roues
Tuyaux
Vannes & petites pièces
Service
Tous éteints Service
Courroies
Filtre
Huiles
Nettoyant
Outils
Sets
Pétrole & chimie
Tous éteints Pétrole & chimie
Adhésifs
Consommables
Fournitures d'atelier
Graisses & lubrifiants
Huiles
Produit d'étanchéité
Produits d'entretien & nettoyants
Vernis & peintures
Accessoires
Tous éteints Accessoires
Accessoires spéciaux
Crash bars
Equipement d'atelier
Kits d'étranglement & limiteurs de vitesse
Littérature
Marchandise
Pare-vent
Porte-bagages
Protection contre le vol
Sacs
Supports de téléphone portable & accessoires
TopCase
Casques & Vêtements
Tous éteints Casques & Vêtements
Accessoires
Casques
Gants
Lunettes & visières
T-shirt & chemises
Vestes & pantalons
Astuce du jour
%
Malossi
Bouchon de remplissage d'huile avec jauge -MALOSSI- huile moteur- Piaggio Leader/Quasar - Vespa ET4, LX, LXV, S, GT, GTS, GTV, GTL 125-300, Royal Alloy GP, TG - noir
42,21 €*
46,90 €*
Vespa ET2/ET4 50/125/150
Vespa ET2 50 (1998, ZAPC16000)
Rücklicht
Moteur
Installation électrique
Cadre & pièces rapportées
Guidons & armatures
Câbles Bowden
Roues
Service
Pétrole & chimie
Accessoires
Casques & Vêtements
Vespa ET2 50 (1998, ZAPC16000)
Eclatés
Amortisseur arrière
Amortisseur avant
Batterie
Béquille centrale
Boîte à gants
Boîte de vitesses
Carburateur
Carter moteur
Châssis
commandes
Compartiment pour casque
Composants de carburateur
Couvercle carter moteur
Culasse
Cylindre
Démarreur
Feu arrière
Filtre à air
Fourche
Frein arrière
Frein avant
Garde boue
Guidon côté droit
Guidon côté gauche
Interrupteur
Kit d'inspection complet
Moteur
Optique de phare
Plancher
Pompe à huile
Porte plaque
Pot d'échappement
Poulie entraînée - embrayage
Réservoir d'essence
Réservoir d'huile
Roue arrière
Roue avant
Roulements direction fourche
Selle
Tableau de bord
V-Belt Smart kit
Variateur
Vilebrequin
Volant magnétique
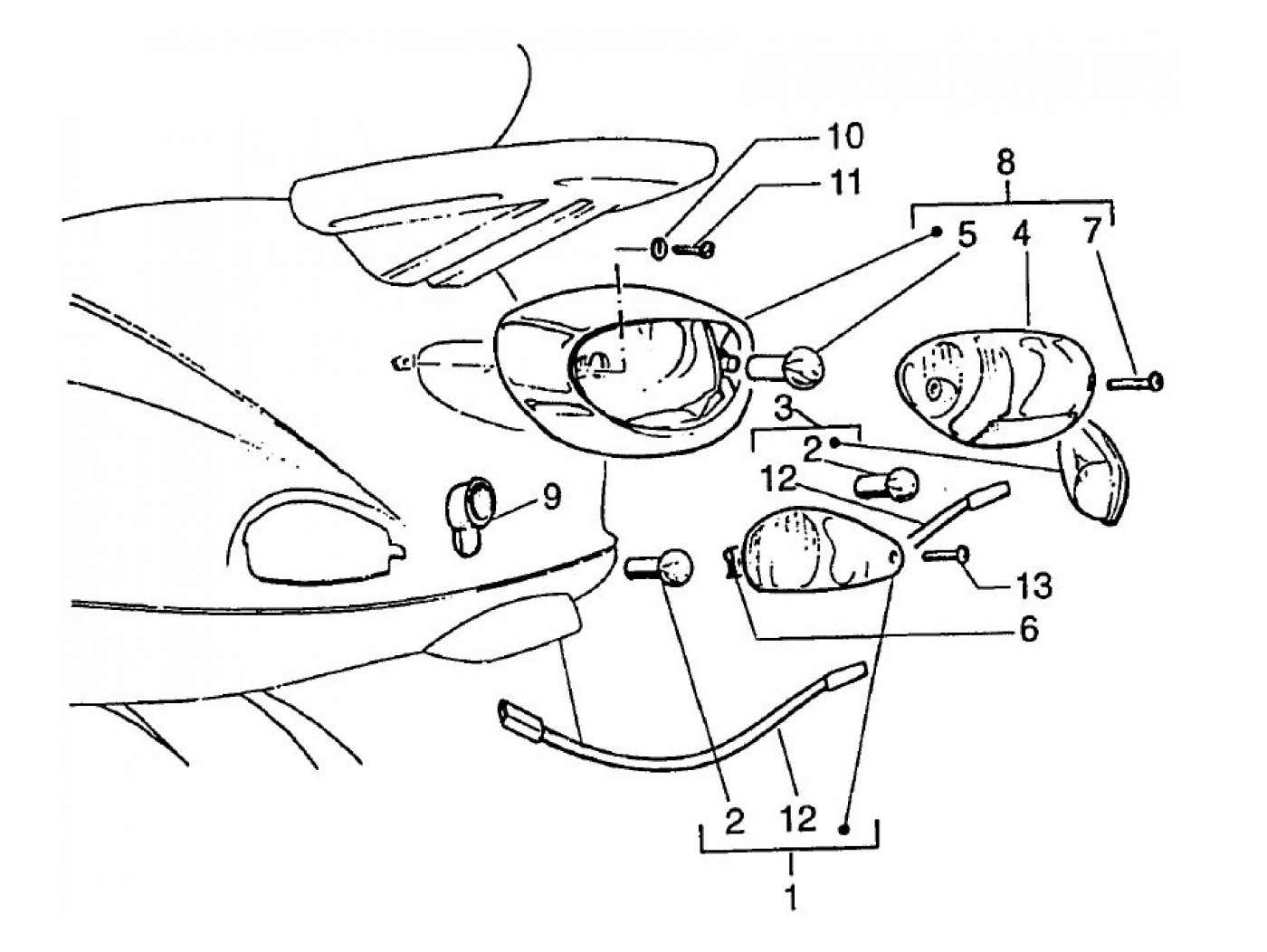
Feu arrière
Vespa ET2 50 (1998, ZAPC16000)
Nom du composant
Écrou en tôle
(1)
Clignotant
(2)
Ampoule
(2)
Pièce en caoutchouc
(1)
Feu arrière
(1)
Phare
(1)
Vis
(3)
Rondelle
(1)
Fabricant
BGM STYLE
(1)
OEM-Qualität
(2)
Piaggio
(9)
Trier
Pertinence
Prix par ordre croissant
Prix décroissant
Marque de A à Z
Marque Z-A
Nouveautés
%
Piaggio
5320016
Feu arrière -PIAGGIO- Vespa ET2 50, ET4 50-150
%
Piaggio
SR2199107
Clignotant -PIAGGIO- ET2, ET4 - arrière droit - orange
%
Piaggio
SR2199115
Clignotant -PIAGGIO- ET2, ET4 - arrière gauche - orange
%
Piaggio
GP250521
Porte-ampoule -PIAGGIO- Piaggio ZIP 2
%
Piaggio
GP250522
Capuchon clignotant arrière -PIAGGIO- Vespa Cosa, ET2, ET4, GT, GTS, GTL, GTV
%
Piaggio
GPCM017405
Agrafe -PIAGGIO- Ø=2,6mm - 9x12mm
%
Piaggio
GP015728
%
BGM STYLE
9512021
Ampoule -BAY15d- 12V 21/5W - blanc
%
OEM-Qualität
9512110
Ampoule -BA15s (pointes en face, baïonnettes) - 12V 10W - blanc
%
Piaggio
7671004
Vis support pompe à eau/pompe à eau -PIAGGIO- universel, 12V (pour Piaggio Leader 125 (2009-), Leader Hybrid)
%
Piaggio
7675383
Rondelle -PIAGGIO- 4,6x9,9x1,0mm (pour pièces montées au châssis Vespa PK XL2, HP)
%
OEM-Qualität
7675328
Vis -DIN 7985- M4 x 12mm (utilisé pour la fixation de la plaque de serrage Elekrochoke, clignotants et verres de clignotants Vespa PK XL2)
×
×