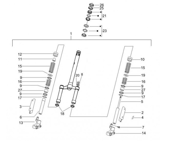
Fourche - roulements direction fourche
Piaggio TPH 50 (2007, ZAPC29000)
Trier