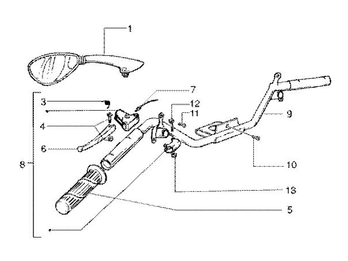
Guidon côté gauche
Vespa ET4 50 (2002, ZAPC26100)
Trier