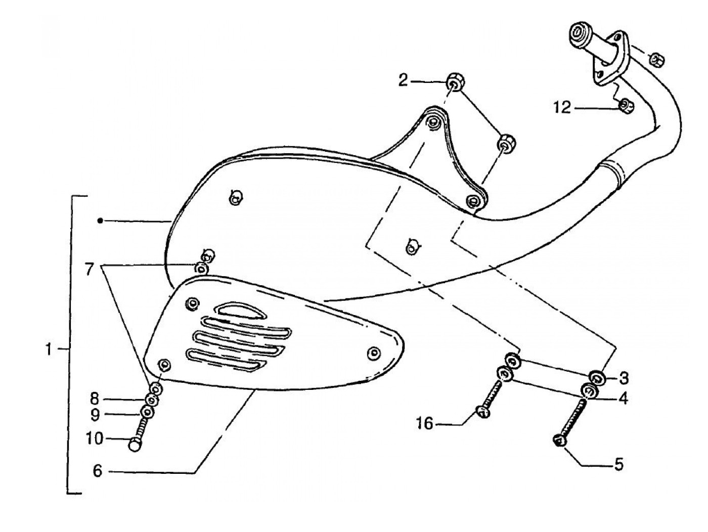
Pot d'échappement
Vespa ET2 50 (2001, ZAPC16000)
Trier