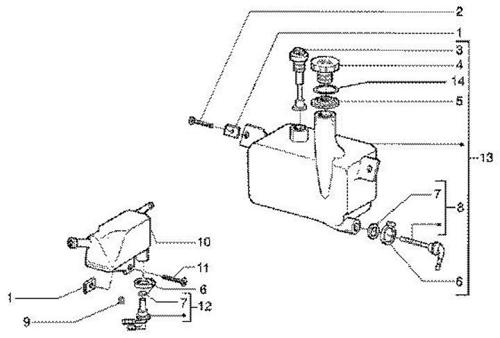
Réservoir d'huile - réservoir secondaire de carburant dégazeur
Gilera Runner 50 FL (2002, ZAPC36200)
Trier