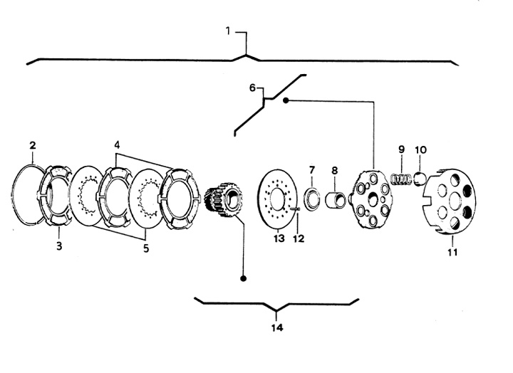
Clutch
Vespa Cosa 150 CL (VLR1T)
Sort