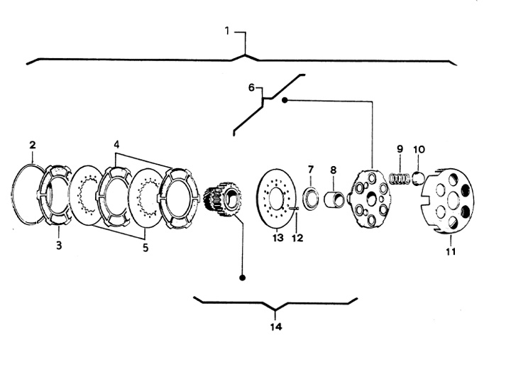
Clutch
Vespa Cosa 200 CL (VSR1T)
Sort