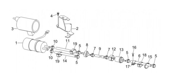
Pompe à essence
Vespa GTS 125 (2012, ZAPM31300)
Trier