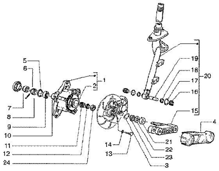
Fork - steering set
Vespa ET4 125 (2000, ZAPM190001)
Sort