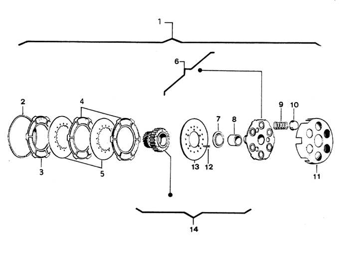
Embrayage
Vespa Cosa 125 CLX (VNR1T300)
Trier